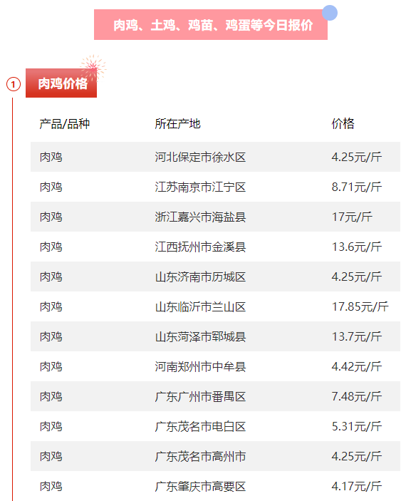
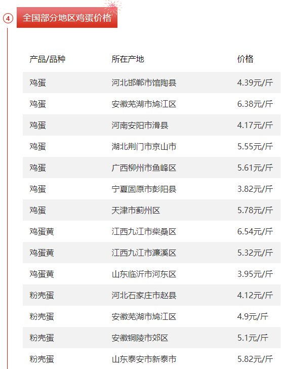
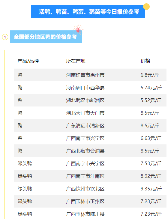
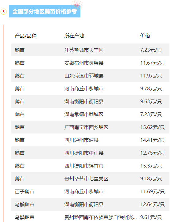
今日全國各地肉雞、鴨、鵝、雞蛋、禽苗等參考報價(2025年7月3日)










雞蛋觀點

















家禽觀點
今日白羽肉雞苗和白羽肉毛雞價格均出現下跌,而淘汰蛋毛雞價格保持平穩。白羽肉雞苗由于盈利預期偏弱,養殖戶對雞苗成本控制較為敏感。在當前市場環境下,養殖戶更傾向于降低養殖成本,減少補欄數量。同時,高溫天氣不利于雞苗的生長和管理,養殖戶存在高溫規避情況,進一步降低了補欄積極性。市場需求不足導致實際成交價格低于報價。盡管部分廠家報價較高,但實際成交價格往往較低,反映出市場整體需求的疲軟。大型養殖場和小型養殖場在雞苗質量、成本控制和市場議價能力方面存在差異。大型養殖場的雞苗價格相對穩定,而小型養殖場的雞苗價格波動較大,這種差異也影響了整體市場價格的穩定性。養殖戶對未來市場的預期不樂觀,擔心后期肉雞價格下跌,因此在補欄時更加謹慎。這種預期進一步抑制了雞苗的市場需求。7月份白羽肉毛雞的月度出欄總量將繼續增長,盡管增幅有所收窄,但市場供應依然充足。供應的增加對價格產生了下行壓力。當前處于禽肉消費的淡季,終端消費需求不足。消費者對白羽肉毛雞的需求沒有明顯增加,屠宰企業按需收購,采購量減少,進一步壓低了價格。生豬價格的變化對白羽肉毛雞價格也有一定影響。盡管生豬價格近期有所上漲,但禽肉消費需求的淡季使得白羽肉毛雞價格難以跟隨上漲。淘汰蛋毛雞價格平穩原因養殖端蛋毛雞出欄淘汰量止降轉增長,市場供應相對充足。但由于需求端沒有明顯改善,價格難以大幅上漲。禽肉消費需求繼續處于淡季,市場缺乏實質性利多支撐。消費者對淘汰蛋毛雞的需求沒有明顯增加,這限制了價格的上漲空間。出欄大豬價格上漲對淘汰蛋毛雞價格有一定的提振作用。但由于整體市場需求疲軟,這種提振作用有限,價格保持平穩。

用手機微信掃描上面二維碼關注“廣西助農公眾號”,更多養殖報價信息等著您。
- 上一篇:【視頻】養豬增利寶可以增加肉豬養殖的效益,為代養戶保駕護航 [2025-07-03]
- 下一篇:今日全國各地肉牛、肉羊等參考報價與行情資訊(2025年7月3日) [2025-07-03]






